首页
专利数据库
产业人才
行业动态
产业政策法规
维权援助
个人中心
登录/注册
详情
文本
图像
标题:
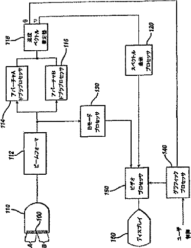
超音波ベクトル処理による自動流れ角度補正
授权日:
1900-01-01
公开(公告)号:
JP2003535639A
申请日:
2001-06-15
公开(公告)日:
2003-12-02
当前申请(专利权)人:
コーニンクレッカ フィリップス エレクトロニクス エヌ ヴィ
发明人:
クリトン,アリン エル | ルース,ヘレン エフ
简单同族:
EP1221895A2 | JP2003535639A | US6464637 | WO2001097704A2 | WO2001097704A3
简单同族成员数量:
5
简单同族被引用专利总数:
60
诉讼案件数:
0
法律状态/事件:
撤回