首页
专利数据库
产业人才
行业动态
产业政策法规
维权援助
个人中心
登录/注册
详情
文本
图像
标题:
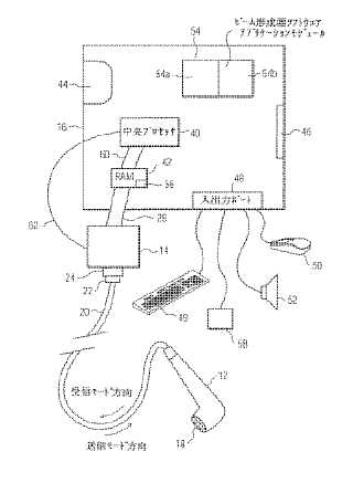
超音波トランスデューサをビーム形成処理を実行する計算装置とインタフェース接続するシステム及び方法
授权日:
1900-01-01
公开(公告)号:
JP2004121847A
申请日:
2003-09-29
公开(公告)日:
2004-04-22
当前申请(专利权)人:
コーニンクレッカ フィリップス エレクトロニクス エヌ ヴィ
发明人:
ジョージ アンソニー ブロック‐フィッシャー
简单同族:
JP2004121847A | US20040064044A1 | US6716171
简单同族成员数量:
3
简单同族被引用专利总数:
27
诉讼案件数:
0
法律状态/事件:
撤回