标题:
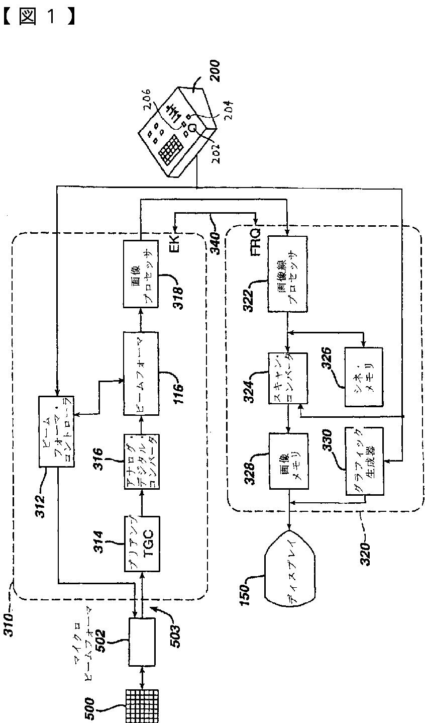
仰角バイプレーン画像を備える超音波診断システム
授权日:
2010-01-22
公开(公告)号:
JP4444108B2
申请日:
2003-07-21
公开(公告)日:
2010-03-31
当前申请(专利权)人:
コーニンクレッカ フィリップス エレクトロニクス エヌ ヴィ
发明人:
フリサ,ジャニス | ポーランド,マッキー ダン
简单同族:
AT343798T | AT343799T | AU2003247113A1 | AU2003249462A1 | AU2003249463A1 | CN100487482C | CN100516928C | CN1678921A | CN1678922A | CN1678923A | DE60309336D1 | DE60309336T2 | DE60309338D1 | DE60309338T2 | EP1543345A1 | EP1543345B1 | EP1543347A1 | EP1543349A1 | EP1543349B1 | JP2005537075A | JP2005537078A | JP2005537079A | JP4444108B2 | JP4473729B2 | US20030023166A1 | US6709394 | WO2004021039A1 | WO2004021041A1 | WO2004021043A1
简单同族成员数量:
29
简单同族被引用专利总数:
126
诉讼案件数:
0
法律状态/事件:
授权