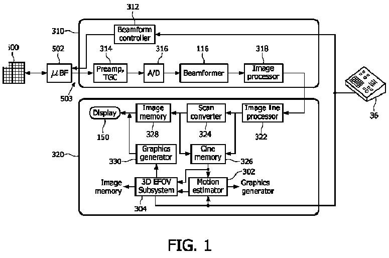
标题:
2次元アレイプローブによる拡張視野の超音波イメージング
授权日:
1900-01-01
公开(公告)号:
JP2011521762A
申请日:
2009-06-02
公开(公告)日:
2011-07-28
当前申请(专利权)人:
コーニンクレッカ フィリップス エヌ ヴェ
发明人:
ユ,ヤンモ | ジャゴ,ジェイムズ | ジョン,ジンミン | エントレキン,ロバート | アンダーソン,マーティン | オルソン,ラーズ ジョナス
简单同族:
CN102057296A | CN102057296B | EP2288934A2 | JP2011521762A | JP5681623B2 | RU2010154468A | RU2507535C2 | US20110079082A1 | US8539838 | WO2009147620A2 | WO2009147620A3
简单同族成员数量:
11
简单同族被引用专利总数:
30
诉讼案件数:
0
法律状态/事件:
授权