首页
专利数据库
产业人才
行业动态
产业政策法规
维权援助
个人中心
登录/注册
详情
文本
图像
标题:
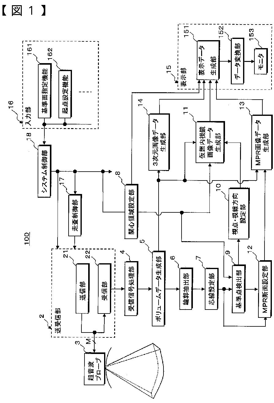
超音波診断装置及び画像データ表示用制御プログラム
授权日:
2013-10-25
公开(公告)号:
JP5395538B2
申请日:
2009-06-30
公开(公告)日:
2014-01-22
当前申请(专利权)人:
株式会社東芝 | 東芝メディカルシステムズ株式会社 | 東芝医用システムエンジニアリング株式会社
发明人:
志岐 栄一 | 嶺 喜隆
简单同族:
CN102300505A | CN102300505B | JP2011010715A | JP5395538B2 | US20120113111A1 | US9173632 | WO2011001938A1
简单同族成员数量:
7
简单同族被引用专利总数:
37
诉讼案件数:
0
法律状态/事件:
授权 | 权利转移