首页
专利数据库
产业人才
行业动态
产业政策法规
维权援助
个人中心
登录/注册
详情
文本
图像
标题:
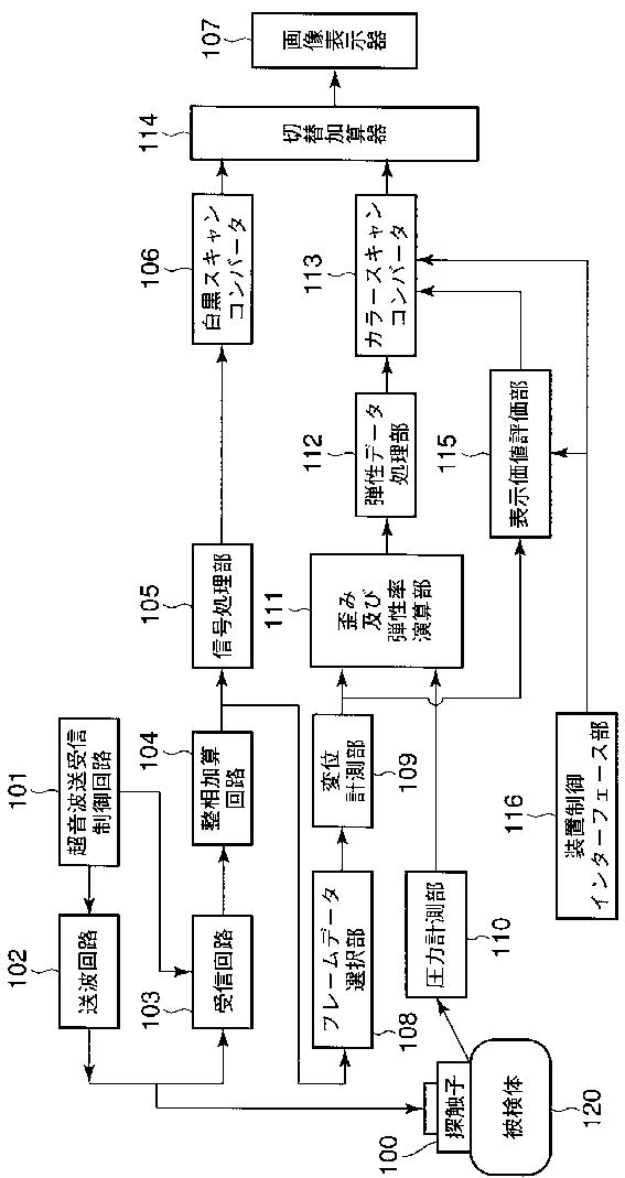
超音波診断装置及び画像処理装置
授权日:
1900-01-01
公开(公告)号:
JP2007105400A
申请日:
2005-10-17
公开(公告)日:
2007-04-26
当前申请(专利权)人:
株式会社東芝 | 東芝メディカルシステムズ株式会社
发明人:
岡村 陽子 | 西野 正敏 | 樋口 治郎 | 東 哲也
简单同族:
CN100512762C | CN101044989A | EP1775602A1 | EP1775602B1 | JP2007105400A | JP2007105400A5 | US20070100237A1 | US7766832
简单同族成员数量:
8
简单同族被引用专利总数:
35
诉讼案件数:
0
法律状态/事件:
驳回