标题:
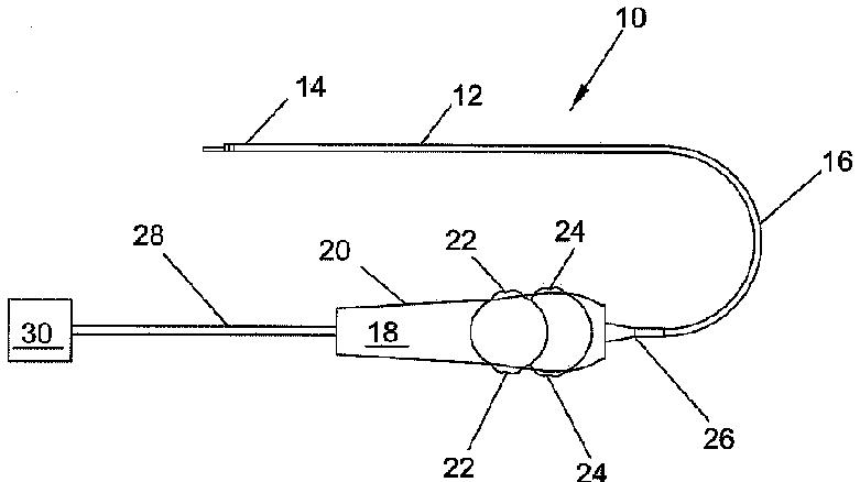
カテーテル遠位端の変換器を操作するための超音波カテーテル及び手持ち式装置
授权日:
1900-01-01
公开(公告)号:
JP2009532188A
申请日:
2007-04-04
公开(公告)日:
2009-09-10
当前申请(专利权)人:
ヴォルケイノウ·コーポレーション
发明人:
ウォルカー,ブレア·ディー | ホサック,ノーマン·ヒュー | ヒューネケンズ,リチャード·スコット | アルシア,ロビル·レイ·パスカル | ヘフリン,アーネスト·ダブリュー | ディヴィーズ,スティーブン·シー | クロシンスキー,リチャード | リョン,チャク·エム
简单同族:
EP2001359A2 | EP2001359A4 | EP2001359B1 | JP2009532188A | JP5385780B2 | US20080009745A1 | US8840560 | WO2007115307A2 | WO2007115307A3
简单同族成员数量:
9
简单同族被引用专利总数:
74
诉讼案件数:
0
法律状态/事件:
授权