首页
专利数据库
产业人才
行业动态
产业政策法规
维权援助
个人中心
登录/注册
详情
文本
图像
标题:
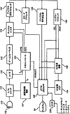
ディジタルビデオ画像マーキングを有する超音波診断画像システム
授权日:
1900-01-01
公开(公告)号:
JP2002538864A
申请日:
2000-02-14
公开(公告)日:
2002-11-19
当前申请(专利权)人:
コーニンクレッカ フィリップス エレクトロニクス エヌ ヴィ
发明人:
ミラー,エドワード エイ | ジョーンズ,フィリップ ヴィ | バートン,ジェフリィ ダブリュ
简单同族:
CN1296705A | EP1078535A1 | JP2002538864A | KR1020010071213A | US6231508 | WO2000054518A1
简单同族成员数量:
6
简单同族被引用专利总数:
56
诉讼案件数:
0
法律状态/事件:
撤回