首页
专利数据库
产业人才
行业动态
产业政策法规
维权援助
个人中心
登录/注册
详情
文本
图像
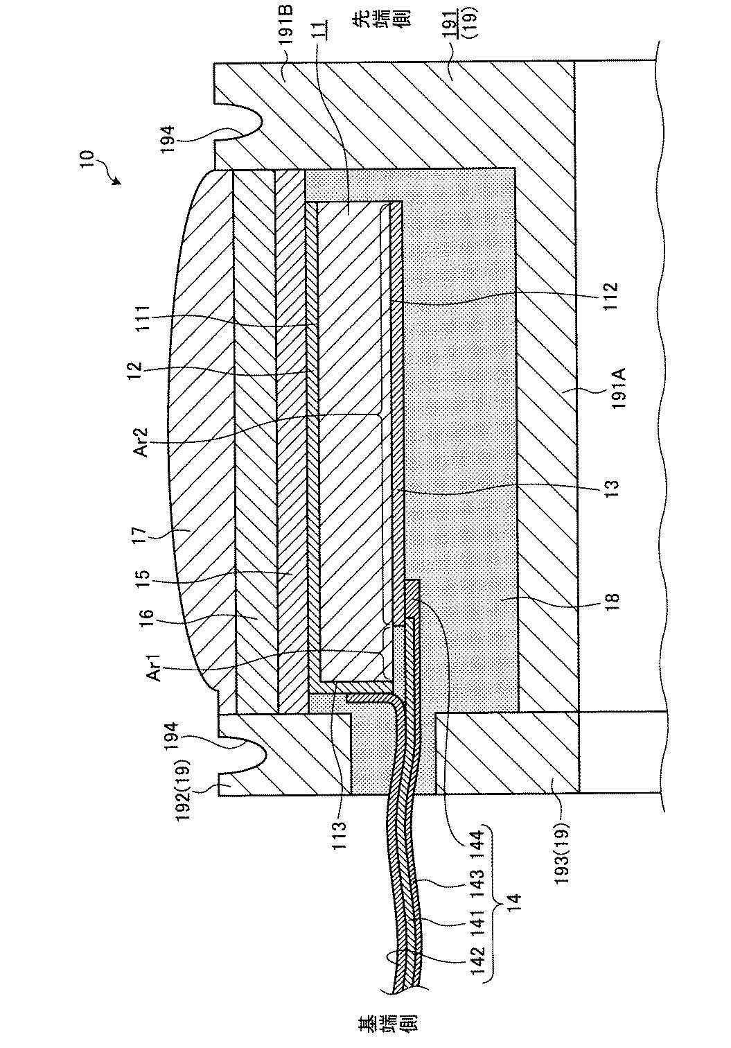
标题:
超音波振動子、超音波内視鏡、及び超音波振動子の製造方法
授权日:
1900-01-01
公开(公告)号:
JP2018064744A
申请日:
2016-10-19
公开(公告)日:
2018-04-26
当前申请(专利权)人:
オリンパス株式会社
发明人:
若林 勝裕
简单同族:
JP2018064744A | JP2018064744A5
简单同族成员数量:
2
简单同族被引用专利总数:
0
诉讼案件数:
0
法律状态/事件:
实质审查