首页
专利数据库
产业人才
行业动态
产业政策法规
维权援助
个人中心
登录/注册
详情
文本
图像
标题:
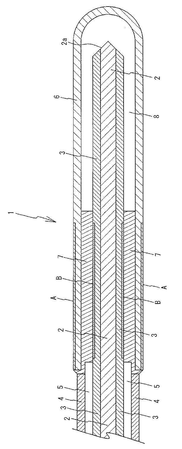
レーザー焼灼術用光ファイバーとそれを用いた医療機器
授权日:
1900-01-01
公开(公告)号:
JP2019076247A
申请日:
2017-10-20
公开(公告)日:
2019-05-23
当前申请(专利权)人:
株式会社ユニタック | 国立大学法人広島大学
发明人:
高橋 勉 | 高橋 一哲 | 末田 泰二郎 | 黒崎 達也 | 高橋 信也
简单同族:
JP2019076247A
简单同族成员数量:
1
简单同族被引用专利总数:
0
诉讼案件数:
0
法律状态/事件:
公开