首页
专利数据库
产业人才
行业动态
产业政策法规
维权援助
个人中心
登录/注册
详情
文本
图像
标题:
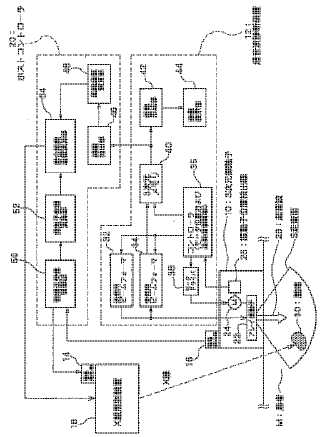
超音波医療システム
授权日:
1900-01-01
公开(公告)号:
JP2004000499A
申请日:
2003-03-07
公开(公告)日:
2004-01-08
当前申请(专利权)人:
アロカ株式会社
发明人:
望月 剛
简单同族:
DE60301989D1 | DE60301989T2 | EP1348377A1 | EP1348377B1 | JP2004000499A | US20030187345A1 | US6796943
简单同族成员数量:
7
简单同族被引用专利总数:
64
诉讼案件数:
0
法律状态/事件:
驳回