标题:
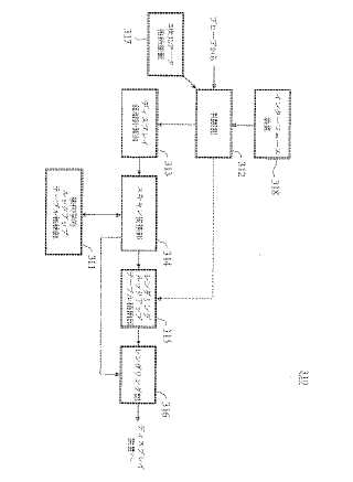
対象体の3次元超音波データを利用してその断面をディスプレイする装置及び方法
授权日:
1900-01-01
公开(公告)号:
JP2005193021A
申请日:
2004-12-16
公开(公告)日:
2005-07-21
当前申请(专利权)人:
株式会社 メディソン
发明人:
グォン イ チョル
简单同族:
CN100459940C | CN1636521A | DE602004026150D1 | DE602004031392D1 | EP1550883A2 | EP1550883A3 | EP1550883B1 | EP2180340A1 | EP2180340B1 | JP2005193021A | JP4659446B2 | KR100751852B1 | KR1020050069878A | US20050187474A1 | US7803112
简单同族成员数量:
15
简单同族被引用专利总数:
54
诉讼案件数:
0
法律状态/事件:
授权