首页
专利数据库
产业人才
行业动态
产业政策法规
维权援助
个人中心
登录/注册
详情
文本
图像
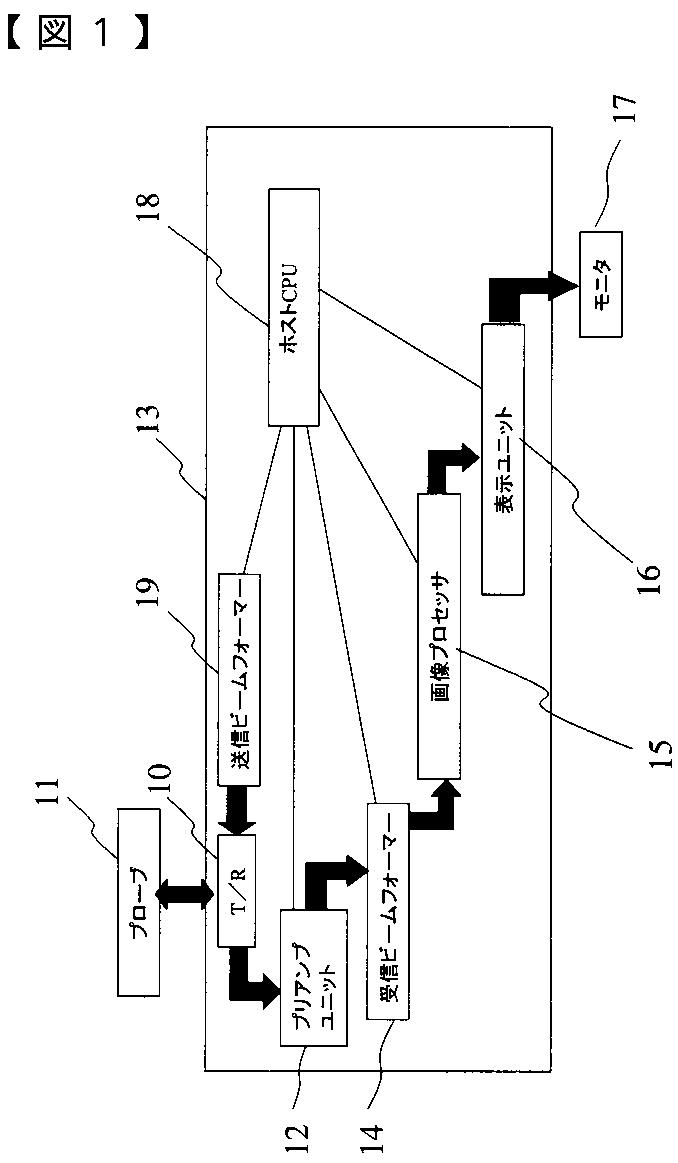
标题:
超音波プローブおよび超音波診断装置
授权日:
2010-07-16
公开(公告)号:
JP4551524B2
申请日:
2000-03-06
公开(公告)日:
2010-09-29
当前申请(专利权)人:
株式会社東芝
发明人:
川岸 哲也 | 嶺 喜隆
简单同族:
JP2001245889A | JP4551524B2 | US20010020131A1 | US6626833
简单同族成员数量:
4
简单同族被引用专利总数:
66
诉讼案件数:
0
法律状态/事件:
未缴年费 | 权利转移