首页
专利数据库
产业人才
行业动态
产业政策法规
维权援助
个人中心
登录/注册
详情
文本
图像
标题:
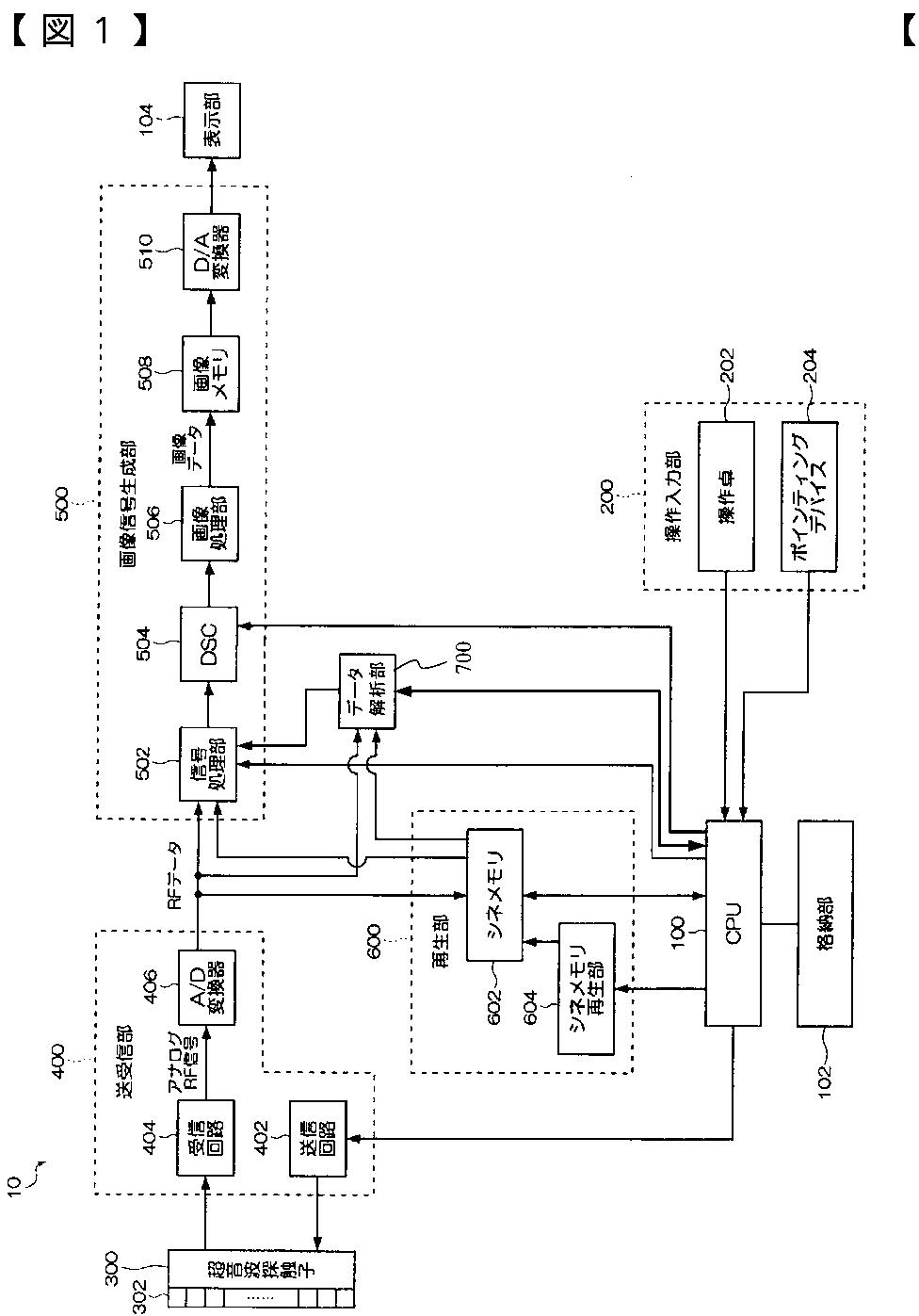
超音波診断装置及びその作動方法
授权日:
2013-10-18
公开(公告)号:
JP5389722B2
申请日:
2010-03-31
公开(公告)日:
2014-01-15
当前申请(专利权)人:
富士フイルム株式会社
发明人:
勝山 公人
简单同族:
EP2306185A2 | EP2306185A3 | EP2645095A1 | EP2645096A1 | EP2645097A1 | JP2011092686A | JP2011092686A5 | JP5389722B2 | US10463344 | US20110077519A1 | US20130296706A1 | US20130303912A1
简单同族成员数量:
12
简单同族被引用专利总数:
60
诉讼案件数:
0
法律状态/事件:
授权