首页
专利数据库
产业人才
行业动态
产业政策法规
维权援助
个人中心
登录/注册
详情
文本
图像
标题:
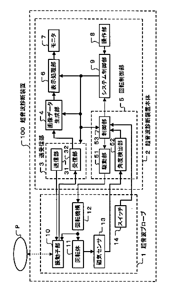
超音波プローブ及び超音波診断装置
授权日:
1900-01-01
公开(公告)号:
JP2010104451A
申请日:
2008-10-28
公开(公告)日:
2010-05-13
当前申请(专利权)人:
株式会社東芝 | 東芝メディカルシステムズ株式会社 | 東芝医用システムエンジニアリング株式会社
发明人:
諸川 哲也 | 中村 寿 | 鴫原 章哲 | 小作 秀樹
简单同族:
JP2010104451A
简单同族成员数量:
1
简单同族被引用专利总数:
0
诉讼案件数:
0
法律状态/事件:
撤回