首页
专利数据库
产业人才
行业动态
产业政策法规
维权援助
个人中心
登录/注册
详情
文本
图像
标题:
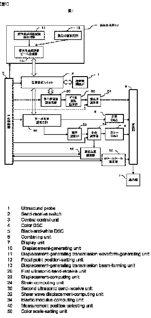
超音波診断装置,および方法
授权日:
1900-01-01
公开(公告)号:
JPWO2012105152A1
申请日:
2011-12-28
公开(公告)日:
2014-07-03
当前申请(专利权)人:
株式会社日立メディコ
发明人:
田原 麻梨江 | 東 隆 | 吉川 秀樹 | 橋場 邦夫
简单同族:
CN103347450A | CN103347450B | EP2671511A1 | EP2671511A4 | EP2671511B1 | JP5619191B2 | JPWO2012105152A1 | US20130317361A1 | WO2012105152A1
简单同族成员数量:
9
简单同族被引用专利总数:
45
诉讼案件数:
0
法律状态/事件:
授权 | 权利转移