首页
专利数据库
产业人才
行业动态
产业政策法规
维权援助
个人中心
登录/注册
详情
文本
图像
标题:
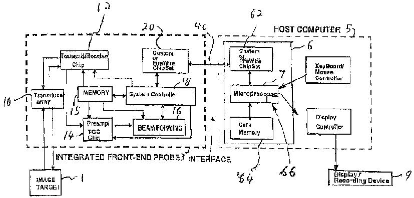
集積化された電子機器を有する超音波プローブ
授权日:
1900-01-01
公开(公告)号:
JP2004530463A
申请日:
2002-02-22
公开(公告)日:
2004-10-07
当前申请(专利权)人:
テラテク·コーポレーシヨン
发明人:
チアング,アリス·エム | リチフイールド,マイケル·ピー | ブロドスカイ,マイケル | キシエル,エリク·アール
简单同族:
EP1370888A2 | JP2004530463A | TW537885B | US20020067359A1 | US6669633 | WO2002068992A2 | WO2002068992A3
简单同族成员数量:
7
简单同族被引用专利总数:
73
诉讼案件数:
0
法律状态/事件:
撤回