首页
专利数据库
产业人才
行业动态
产业政策法规
维权援助
个人中心
登录/注册
详情
文本
图像
标题:
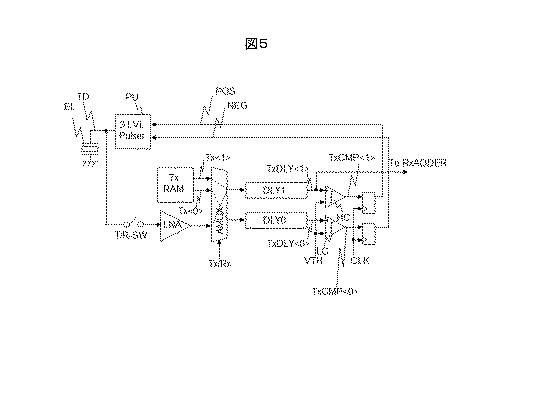
超音波振動子を用いた送受信方法、超音波探触子および超音波診断装置
授权日:
1900-01-01
公开(公告)号:
JP2018121807A
申请日:
2017-01-31
公开(公告)日:
2018-08-09
当前申请(专利权)人:
株式会社日立製作所
发明人:
梶山 新也 | 五十嵐 豊 | 大熊 康介 | 中川 樹生 | 勝部 勇作 | 西元 琢真
简单同族:
JP2018121807A
简单同族成员数量:
1
简单同族被引用专利总数:
0
诉讼案件数:
0
法律状态/事件:
实质审查