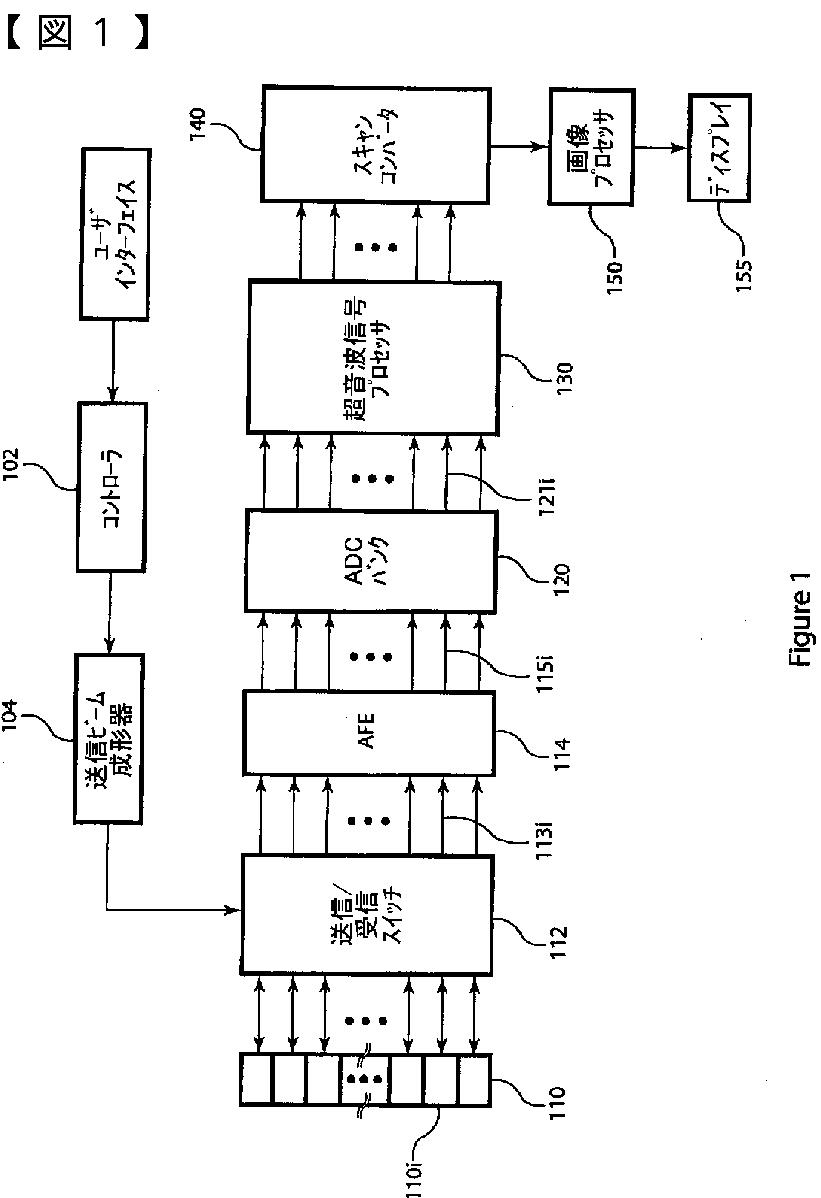
标题:
超音波信号の圧縮
授权日:
2015-03-20
公开(公告)号:
JP5715621B2
申请日:
2010-05-28
公开(公告)日:
2015-05-07
当前申请(专利权)人:
アルテラ コーポレイション
发明人:
ウェゲナー アルバート ダブリュー | ナネヴィクツ マイケル ヴィ
简单同族:
CN101904751A | CN101904751B | CN201855273U | EP2437665A2 | JP2012528685A | JP2012528685A5 | JP5715621B2 | KR101647797B1 | KR1020120037918A | US20100305449A1 | US20120157852A1 | US8157738 | US8795180 | WO2010141370A2 | WO2010141370A3
简单同族成员数量:
15
简单同族被引用专利总数:
82
诉讼案件数:
0
法律状态/事件:
授权 | 权利转移