首页
专利数据库
产业人才
行业动态
产业政策法规
维权援助
个人中心
登录/注册
详情
文本
图像
标题:
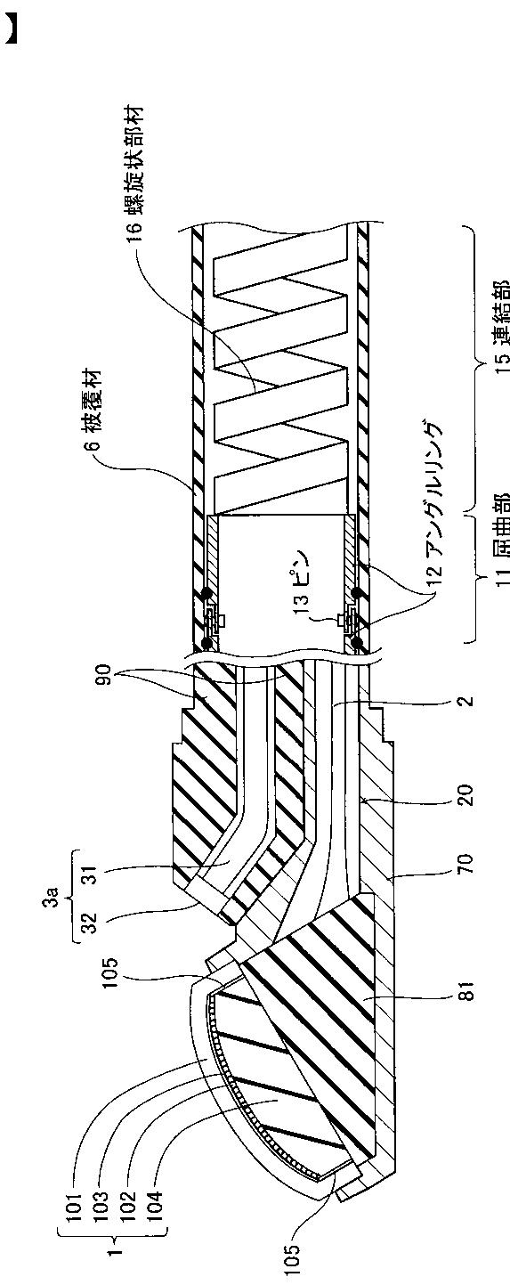
超音波探触子
授权日:
2013-08-02
公开(公告)号:
JP5329065B2
申请日:
2007-09-28
公开(公告)日:
2013-10-30
当前申请(专利权)人:
富士フイルム株式会社
发明人:
永野 和彦 | 大澤 敦
简单同族:
CN101396289A | CN101396289B | JP2009082360A | JP5329065B2 | US20090088646A1 | US8382673
简单同族成员数量:
6
简单同族被引用专利总数:
70
诉讼案件数:
0
法律状态/事件:
授权