首页
专利数据库
产业人才
行业动态
产业政策法规
维权援助
个人中心
登录/注册
详情
文本
图像
标题:
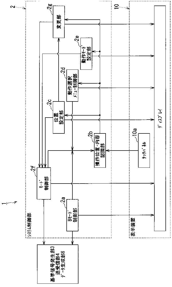
超音波診断装置及びその操作支援方法
授权日:
1900-01-01
公开(公告)号:
JP2014008339A
申请日:
2012-07-02
公开(公告)日:
2014-01-20
当前申请(专利权)人:
東芝メディカルシステムズ株式会社
发明人:
佐々木 琢也 | 柴田 千尋 | 西原 財光 | 鷲見 篤司
简单同族:
CN103687547A | CN103687547B | JP2014008339A | JP6013051B2 | US20140059486A1 | WO2014007055A1
简单同族成员数量:
6
简单同族被引用专利总数:
25
诉讼案件数:
0
法律状态/事件:
授权 | 权利转移