首页
专利数据库
产业人才
行业动态
产业政策法规
维权援助
个人中心
登录/注册
详情
文本
图像
标题:
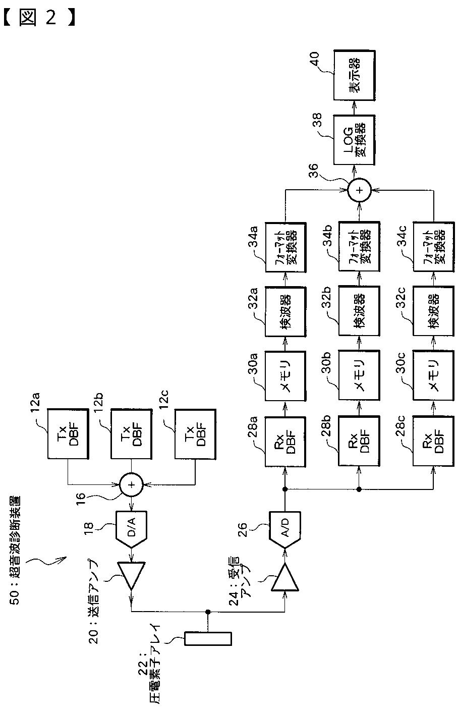
超音波診断装置
授权日:
2011-11-11
公开(公告)号:
JP4860945B2
申请日:
2005-06-09
公开(公告)日:
2012-01-25
当前申请(专利权)人:
日立アロカメディカル株式会社
发明人:
宮坂 好一 | 原田 烈光
简单同族:
JP2006340890A | JP4860945B2
简单同族成员数量:
2
简单同族被引用专利总数:
33
诉讼案件数:
0
法律状态/事件:
未缴年费