标题:
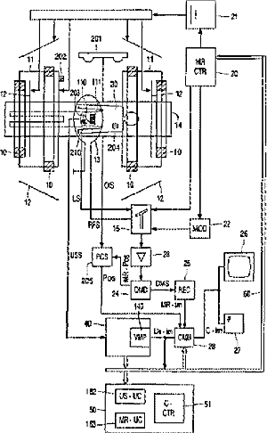
超音波プローブを有する診断撮像システム
授权日:
1900-01-01
公开(公告)号:
JP2003516797A
申请日:
2000-12-07
公开(公告)日:
2003-05-20
当前申请(专利权)人:
コーニンクレッカ フィリップス エレクトロニクス エヌ ヴィ
发明人:
ファン デン ブリンク,ヨーハン エス | フィセル,フレデリク | クーン,ミカエル ハー
简单同族:
DE60027887D1 | DE60027887T2 | EP1182970A2 | EP1182970B1 | JP2003516797A | JP4955172B2 | US20020128550A1 | US6505063 | WO2001043640A2 | WO2001043640A3
简单同族成员数量:
10
简单同族被引用专利总数:
110
诉讼案件数:
0
法律状态/事件:
未缴年费