首页
专利数据库
产业人才
行业动态
产业政策法规
维权援助
个人中心
登录/注册
详情
文本
图像
标题:
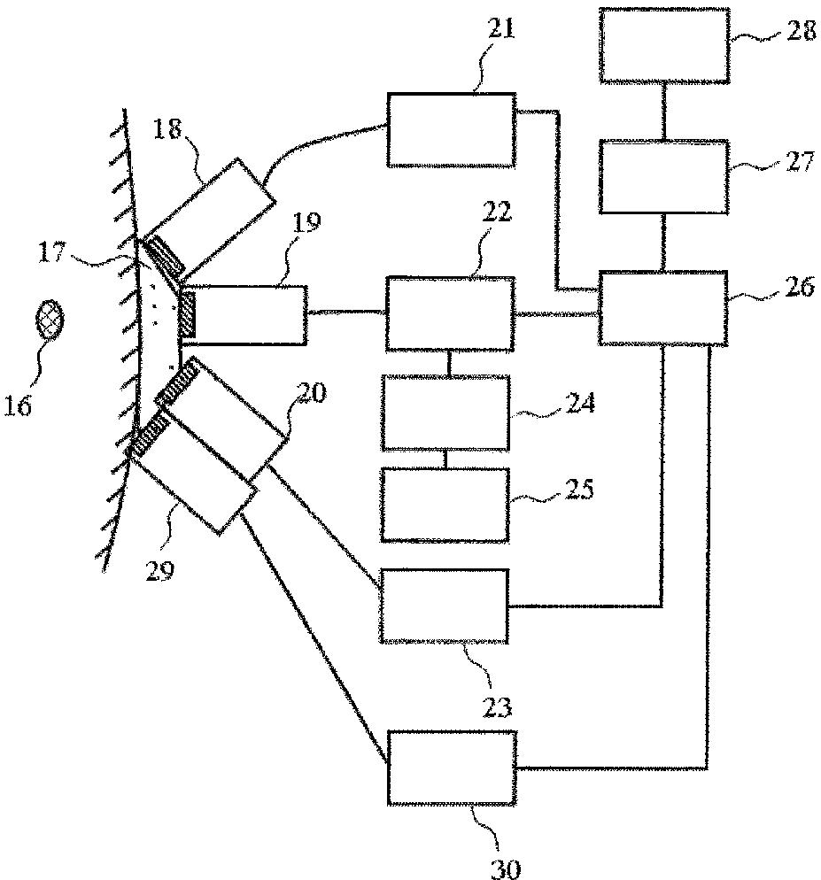
超音波診断治療装置
授权日:
2015-04-24
公开(公告)号:
JP5735488B2
申请日:
2011-04-05
公开(公告)日:
2015-06-17
当前申请(专利权)人:
株式会社日立製作所
发明人:
川畑 健一 | 浅見 玲衣
简单同族:
CN102834068A | CN102834068B | JP5735488B2 | JPWO2011125991A1 | US20130053691A1 | US9078594 | WO2011125991A1
简单同族成员数量:
7
简单同族被引用专利总数:
22
诉讼案件数:
0
法律状态/事件:
未缴年费