首页
专利数据库
产业人才
行业动态
产业政策法规
维权援助
个人中心
登录/注册
详情
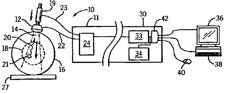
文本
图像
标题:
改良された軟部組織の超音波歪測定のための方法及び装置
授权日:
1900-01-01
公开(公告)号:
JP2012081295A
申请日:
2011-12-15
公开(公告)日:
2012-04-26
当前申请(专利权)人:
ウイスコンシン アラムナイ リサーチ ファウンデーシヨン
发明人:
ヴァンダーバイ, レイ | 小林 博仁
简单同族:
EP1786332A2 | EP1786332A4 | JP2008508056A | JP2012081295A | JP5485508B2 | US20060025682A1 | US7736315 | WO2006026008A2 | WO2006026008A3
简单同族成员数量:
9
简单同族被引用专利总数:
52
诉讼案件数:
0
法律状态/事件:
驳回