首页
专利数据库
产业人才
行业动态
产业政策法规
维权援助
个人中心
登录/注册
详情
文本
图像
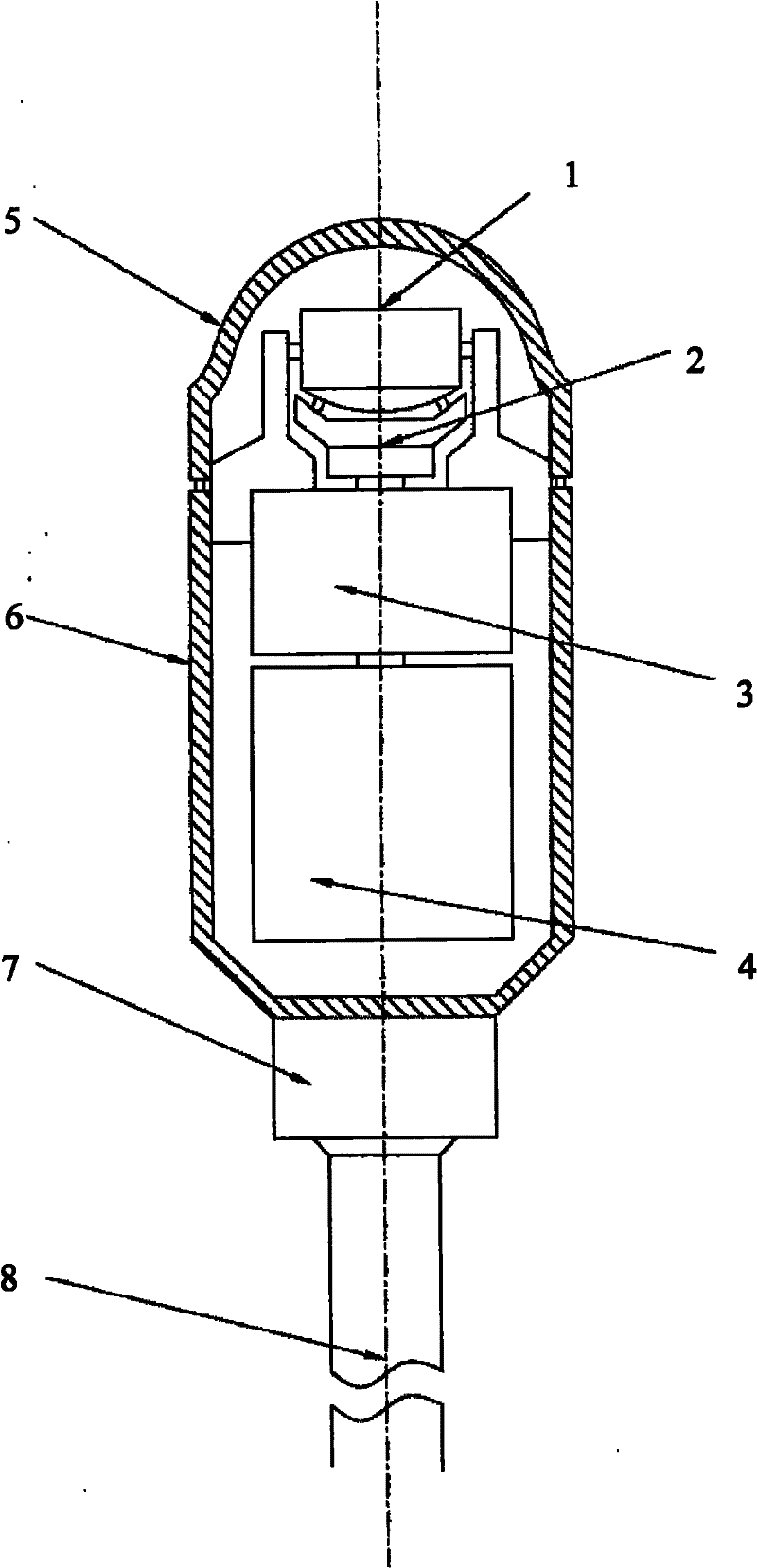
标题:
一种新型B超探头及便携B超设备
授权日:
2011-04-06
公开(公告)号:
CN201782770U
申请日:
2010-08-16
公开(公告)日:
2011-04-06
当前申请(专利权)人:
无锡市兰辉超声电子设备厂
发明人:
冯沁毅
简单同族:
CN201782770U
简单同族成员数量:
1
简单同族被引用专利总数:
0
诉讼案件数:
0
法律状态/事件:
未缴年费