首页
专利数据库
产业人才
行业动态
产业政策法规
维权援助
个人中心
登录/注册
详情
文本
图像
标题:
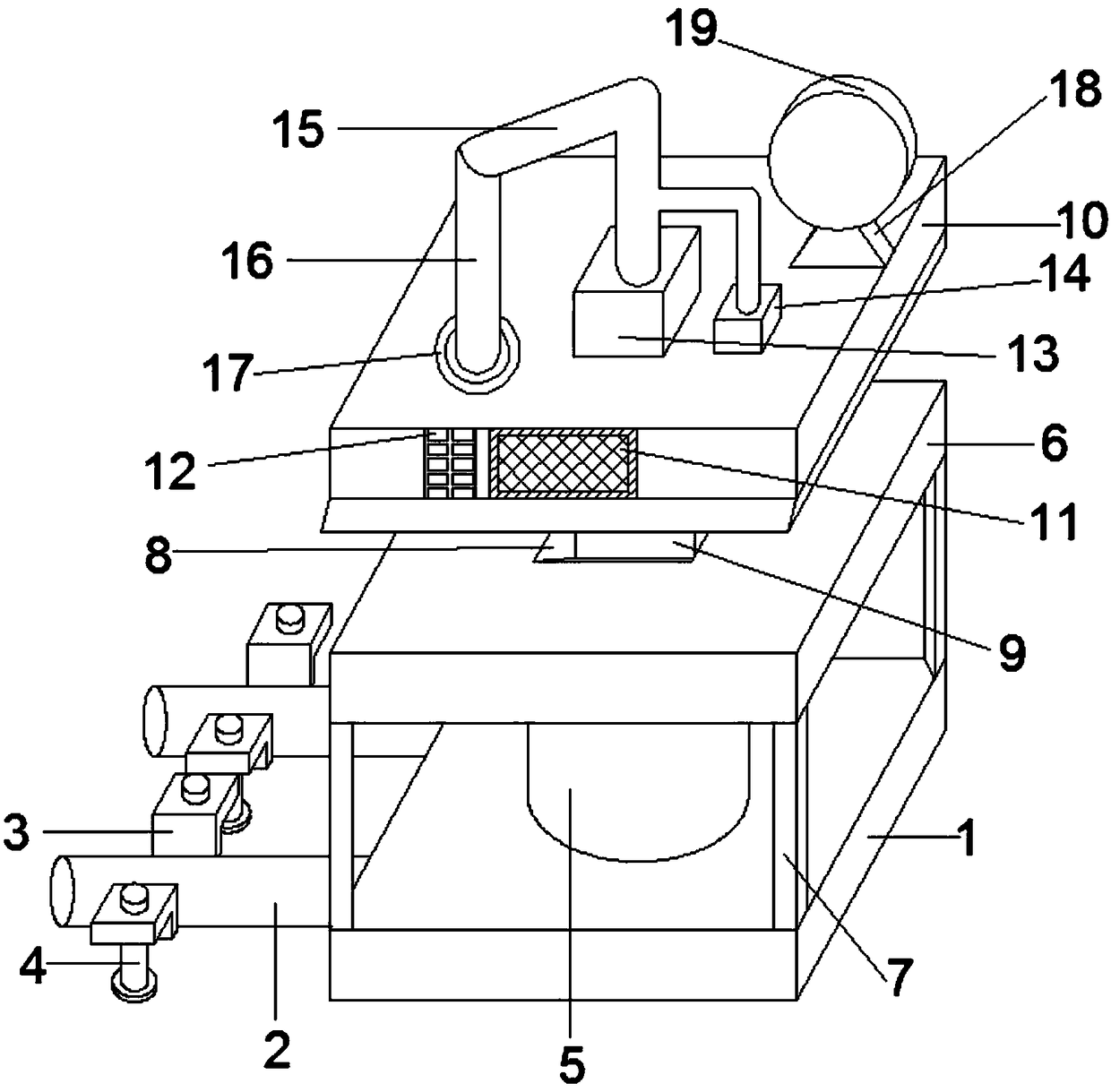
一种新型妇产科超声治疗仪
授权日:
1900-01-01
公开(公告)号:
CN108245195A
申请日:
2018-01-19
公开(公告)日:
2018-07-06
当前申请(专利权)人:
郑世连
发明人:
郑世连 | 张红晓 | 潘为昌
简单同族:
CN108245195A
简单同族成员数量:
1
简单同族被引用专利总数:
0
诉讼案件数:
0
法律状态/事件:
实质审查