首页
专利数据库
产业人才
行业动态
产业政策法规
维权援助
个人中心
登录/注册
详情
文本
图像
标题:
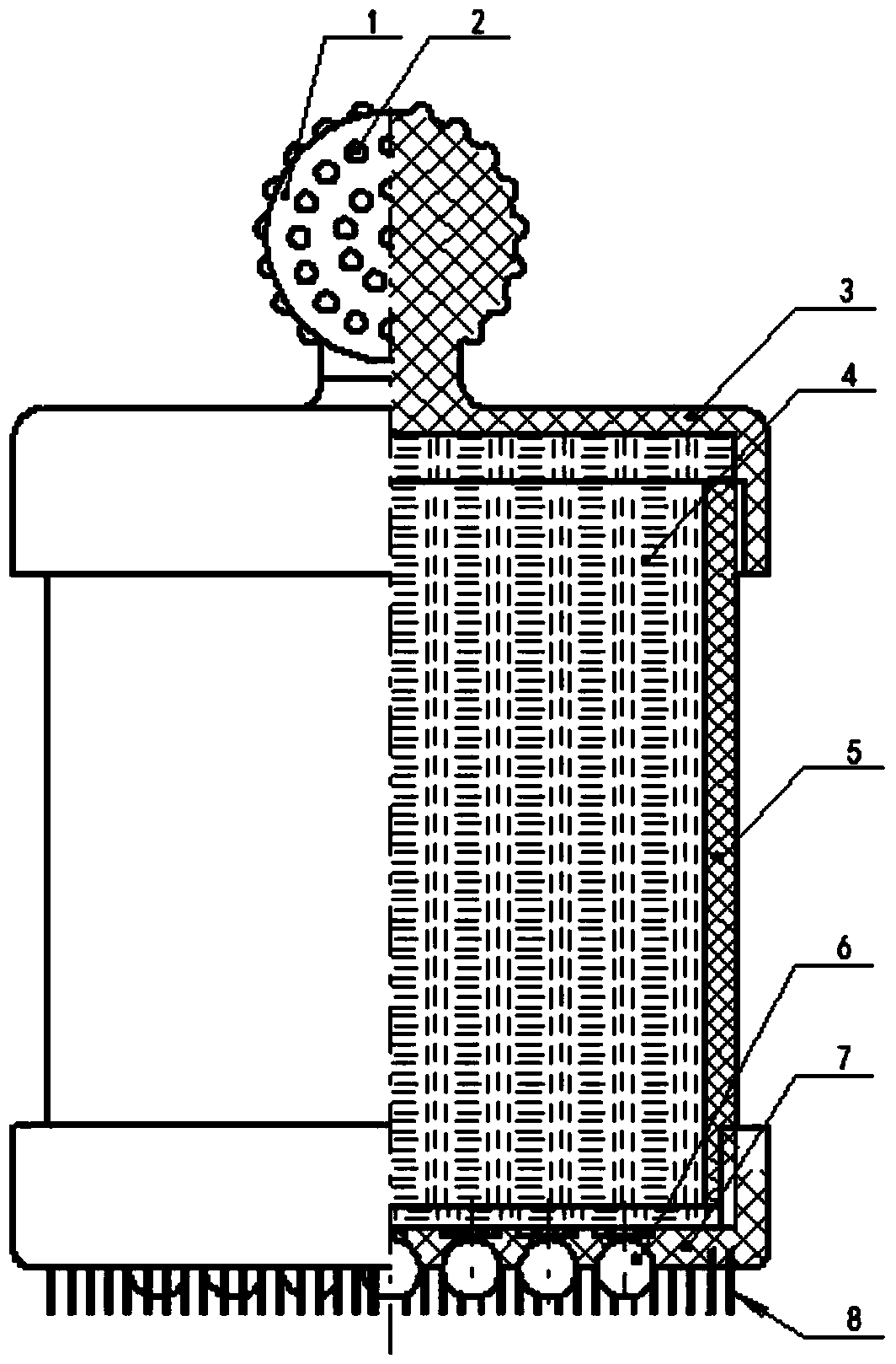
一种手持超声检查用耦合剂涂抹器
授权日:
2015-06-03
公开(公告)号:
CN204364644U
申请日:
2014-12-24
公开(公告)日:
2015-06-03
当前申请(专利权)人:
于志英
发明人:
于志英 | 李娟 | 纪红媛 | 刘艳荣 | 郭小伟
简单同族:
CN204364644U
简单同族成员数量:
1
简单同族被引用专利总数:
0
诉讼案件数:
0
法律状态/事件:
未缴年费