首页
专利数据库
产业人才
行业动态
产业政策法规
维权援助
个人中心
登录/注册
详情
文本
图像
标题:
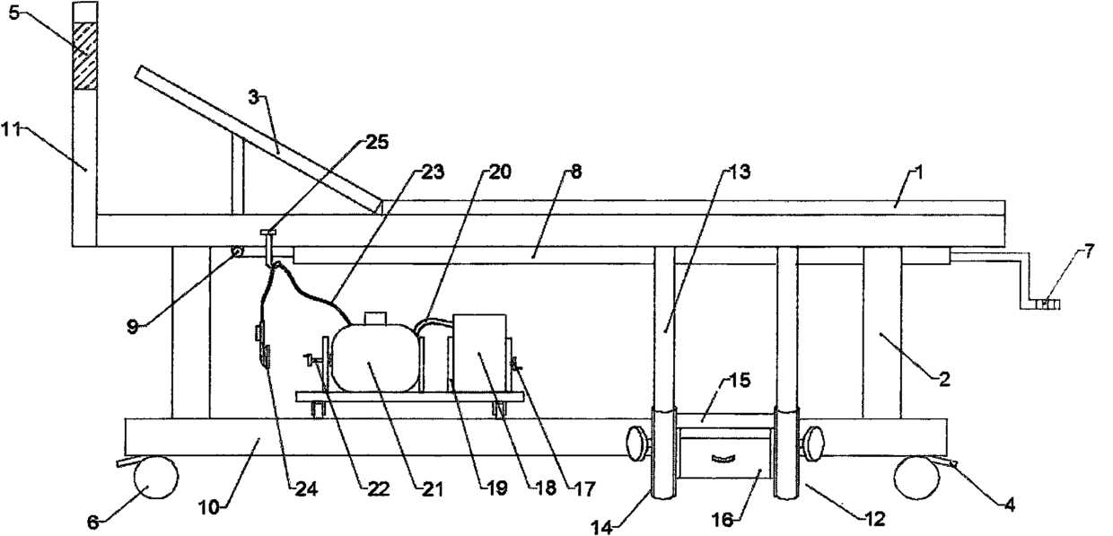
一种便于涂抹耦合剂的超声检查床
授权日:
2015-12-16
公开(公告)号:
CN204863262U
申请日:
2015-07-28
公开(公告)日:
2015-12-16
当前申请(专利权)人:
王道佩
发明人:
王道佩
简单同族:
CN204863262U
简单同族成员数量:
1
简单同族被引用专利总数:
0
诉讼案件数:
0
法律状态/事件:
未缴年费