首页
专利数据库
产业人才
行业动态
产业政策法规
维权援助
个人中心
登录/注册
详情
文本
图像
标题:
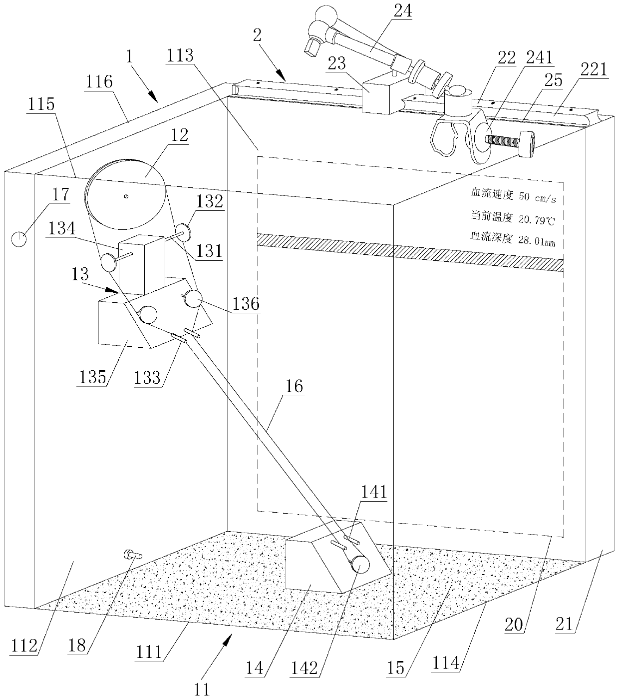
一种超声经颅多普勒血流分析校准系统
授权日:
1900-01-01
公开(公告)号:
CN110058055A
申请日:
2019-04-29
公开(公告)日:
2019-07-26
当前申请(专利权)人:
重庆市计量质量检测研究院
发明人:
徐阳 | 王耀弘 | 杨祥睿 | 傅燕翔 | 宋海龙 | 董广新 | 任婷婷 | 王慧娟 | 胡德龙
简单同族:
CN110058055A
简单同族成员数量:
1
简单同族被引用专利总数:
0
诉讼案件数:
0
法律状态/事件:
实质审查