首页
专利数据库
产业人才
行业动态
产业政策法规
维权援助
个人中心
登录/注册
详情
文本
图像
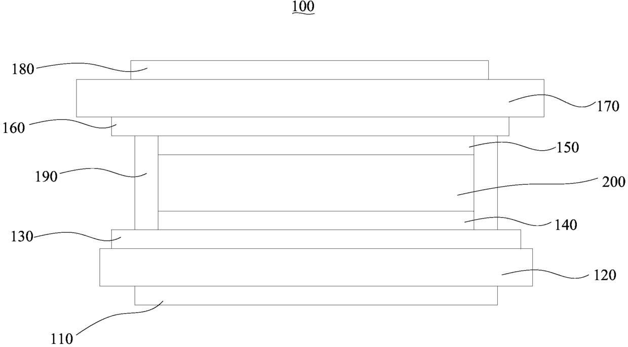
标题:
STN显示屏
授权日:
2015-04-22
公开(公告)号:
CN204287685U
申请日:
2014-11-28
公开(公告)日:
2015-04-22
当前申请(专利权)人:
深圳市轩利丰科技有限公司
发明人:
薛念红 | 周娟 | 熊丈文
简单同族:
CN204287685U
简单同族成员数量:
1
简单同族被引用专利总数:
0
诉讼案件数:
0
法律状态/事件:
未缴年费