首页
专利数据库
产业人才
行业动态
产业政策法规
维权援助
个人中心
登录/注册
详情
文本
图像
标题:
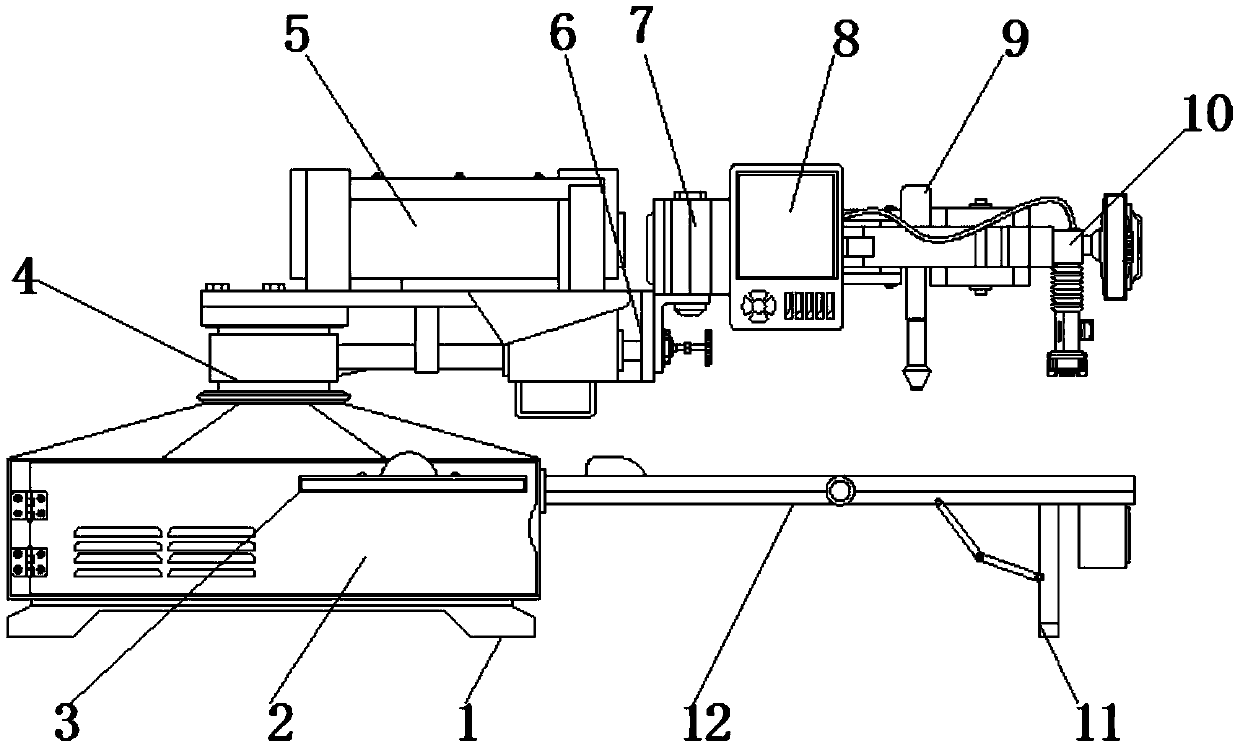
一种用于产前超声检查辅助臂
授权日:
2020-02-18
公开(公告)号:
CN210077701U
申请日:
2019-04-30
公开(公告)日:
2020-02-18
当前申请(专利权)人:
陈丽荣
发明人:
陈丽荣 | 黄静 | 何倒海 | 谢国雄
简单同族:
CN210077701U
简单同族成员数量:
1
简单同族被引用专利总数:
0
诉讼案件数:
0
法律状态/事件:
授权