首页
专利数据库
产业人才
行业动态
产业政策法规
维权援助
个人中心
登录/注册
详情
文本
图像
标题:
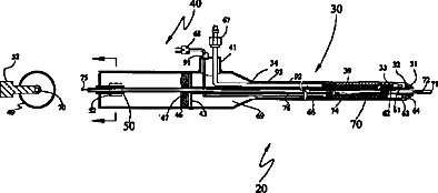
同心、可拆、可互换多功能靶向肿瘤手术刀
授权日:
1900-01-01
公开(公告)号:
CN101579256A
申请日:
2008-05-13
公开(公告)日:
2009-11-18
当前申请(专利权)人:
上海导向医疗系统有限公司
发明人:
常兆华 | 杨鹏飞 | 赵庆孝 | 戴海雄
简单同族:
CN101579256A
简单同族成员数量:
1
简单同族被引用专利总数:
38
诉讼案件数:
0
法律状态/事件:
驳回