首页
专利数据库
产业人才
行业动态
产业政策法规
维权援助
个人中心
登录/注册
详情
文本
图像
标题:
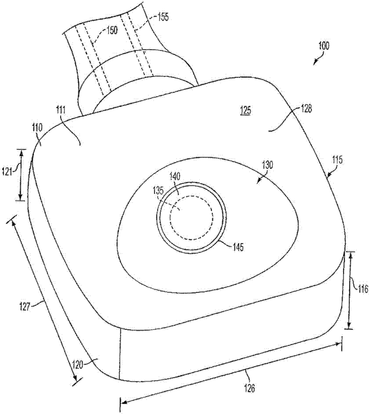
超声波探头和使用该超声波探头的方法
授权日:
1900-01-01
公开(公告)号:
CN102469979A
申请日:
2010-07-06
公开(公告)日:
2012-05-23
当前申请(专利权)人:
康尔福盛209公司
发明人:
雷·赫斯提 | 托尼·普尔 | 克里斯蒂娜·泽斯勒
简单同族:
AU2010273664A1 | BR112012000462A2 | CA2767255A1 | CN102469979A | EP2453801A2 | EP2453801A4 | JP2012533342A | KR1020120084285A | MX2012000393A | RU2012100239A | US20110015527A1 | WO2011008594A2 | WO2011008594A3
简单同族成员数量:
13
简单同族被引用专利总数:
55
诉讼案件数:
0
法律状态/事件:
撤回