首页
专利数据库
产业人才
行业动态
产业政策法规
维权援助
个人中心
登录/注册
详情
文本
图像
标题:
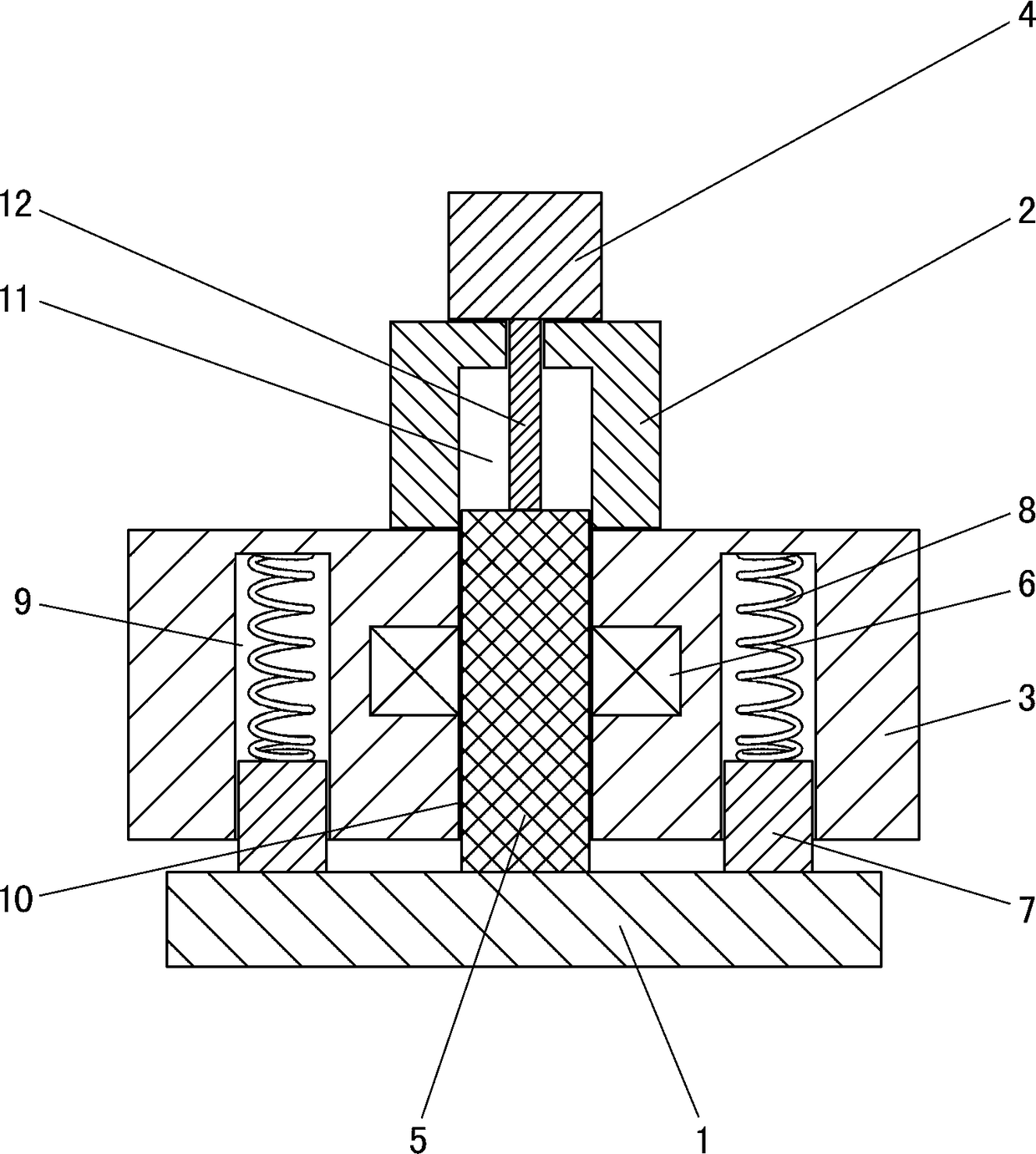
用于弹性成像的压力感应超声探头
授权日:
2013-06-19
公开(公告)号:
CN203000987U
申请日:
2012-12-28
公开(公告)日:
2013-06-19
当前申请(专利权)人:
汕头市超声仪器研究所有限公司
发明人:
李德来 | 郭境峰 | 蔡泽杭 | 林国臻
简单同族:
CN203000987U
简单同族成员数量:
1
简单同族被引用专利总数:
0
诉讼案件数:
0
法律状态/事件:
授权