首页
专利数据库
产业人才
行业动态
产业政策法规
维权援助
个人中心
登录/注册
详情
文本
图像
标题:
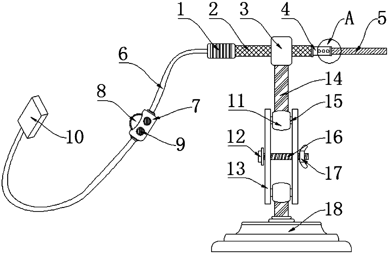
一种超声波内窥镜
授权日:
2019-09-06
公开(公告)号:
CN209346979U
申请日:
2018-10-24
公开(公告)日:
2019-09-06
当前申请(专利权)人:
新乡医学院
发明人:
李中伟 | 白金川 | 赵宗亚
简单同族:
CN209346979U
简单同族成员数量:
1
简单同族被引用专利总数:
0
诉讼案件数:
0
法律状态/事件:
授权