首页
专利数据库
产业人才
行业动态
产业政策法规
维权援助
个人中心
登录/注册
详情
文本
图像
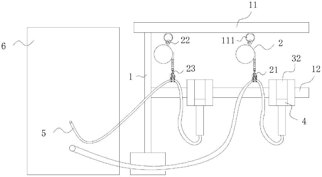
标题:
一种超声探头悬挂装置
授权日:
2019-09-24
公开(公告)号:
CN209434794U
申请日:
2019-03-12
公开(公告)日:
2019-09-24
当前申请(专利权)人:
中山大学附属第三医院
发明人:
张奥华 | 徐净
简单同族:
CN209434794U
简单同族成员数量:
1
简单同族被引用专利总数:
0
诉讼案件数:
0
法律状态/事件:
授权