首页
专利数据库
产业人才
行业动态
产业政策法规
维权援助
个人中心
登录/注册
详情
文本
图像
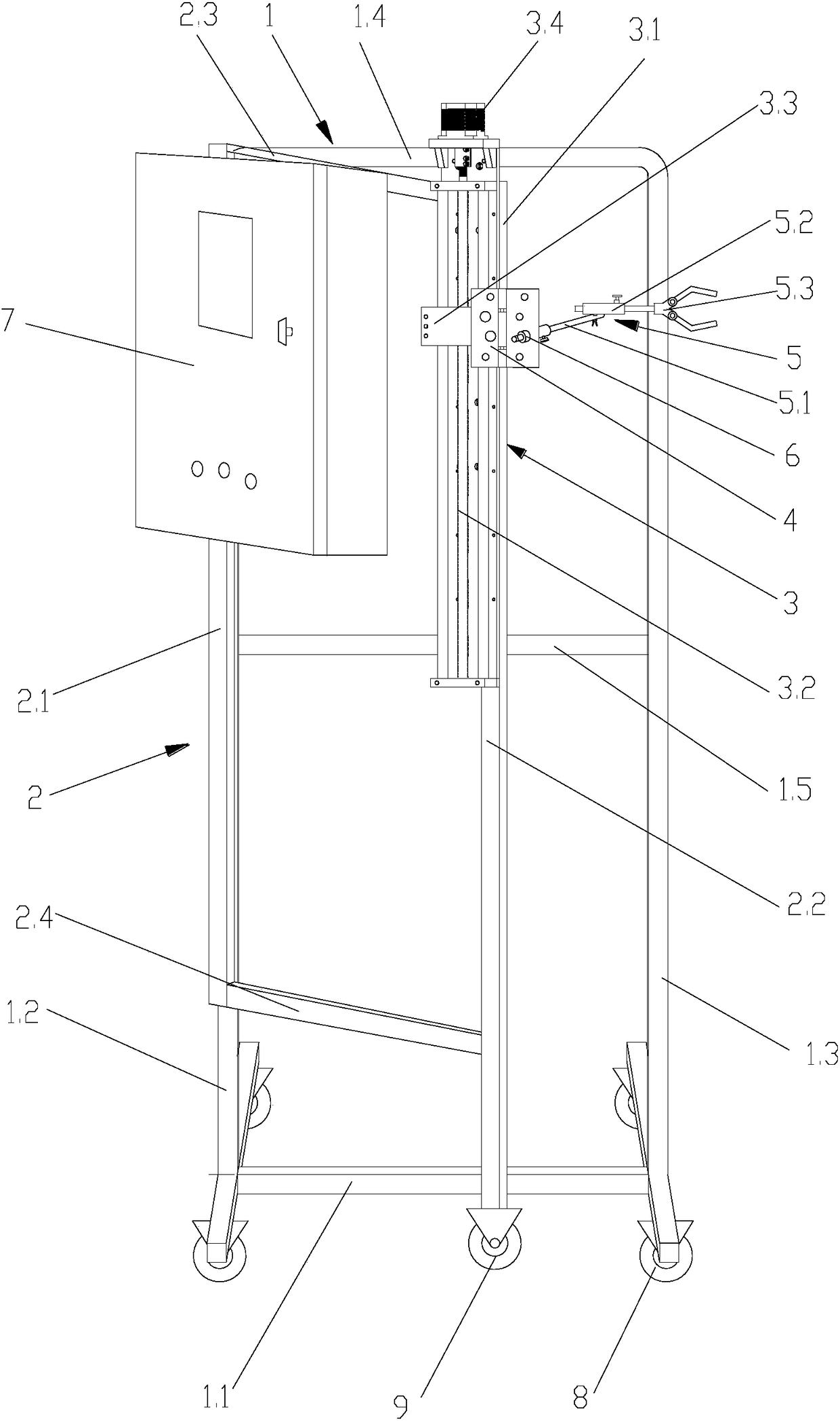
标题:
长距离三维超声探头自动扫查装置
授权日:
2018-08-10
公开(公告)号:
CN207707938U
申请日:
2017-06-12
公开(公告)日:
2018-08-10
当前申请(专利权)人:
华中科技大学同济医学院附属同济医院
发明人:
张超 | 邓又斌 | 李开艳 | 董璐洁
简单同族:
CN207707938U
简单同族成员数量:
1
简单同族被引用专利总数:
0
诉讼案件数:
0
法律状态/事件:
授权