首页
专利数据库
产业人才
行业动态
产业政策法规
维权援助
个人中心
登录/注册
详情
文本
图像
标题:
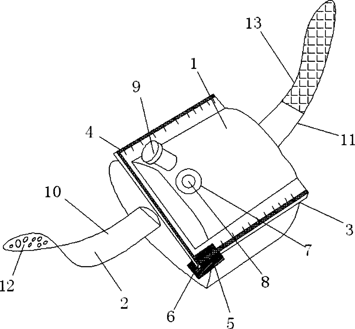
一种超声诊断辅助水囊
授权日:
2014-07-09
公开(公告)号:
CN203693638U
申请日:
2014-02-12
公开(公告)日:
2014-07-09
当前申请(专利权)人:
秘兴锋
发明人:
秘兴锋 | 王强 | 周林霞
简单同族:
CN203693638U
简单同族成员数量:
1
简单同族被引用专利总数:
0
诉讼案件数:
0
法律状态/事件:
未缴年费