首页
专利数据库
产业人才
行业动态
产业政策法规
维权援助
个人中心
登录/注册
详情
文本
图像
标题:
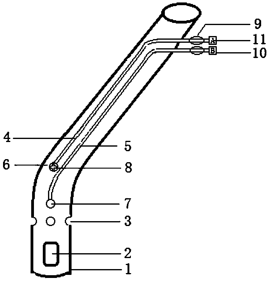
一种安全性高的多功能经食道超声探头
授权日:
2019-12-10
公开(公告)号:
CN209751092U
申请日:
2019-01-22
公开(公告)日:
2019-12-10
当前申请(专利权)人:
武汉大学
发明人:
周青 | 曹省 | 陈金玲 | 邓倾 | 胡波 | 谭团团 | 宋宏宁 | 郭娟
简单同族:
CN209751092U
简单同族成员数量:
1
简单同族被引用专利总数:
0
诉讼案件数:
0
法律状态/事件:
授权