首页
专利数据库
产业人才
行业动态
产业政策法规
维权援助
个人中心
登录/注册
详情
文本
图像
标题:
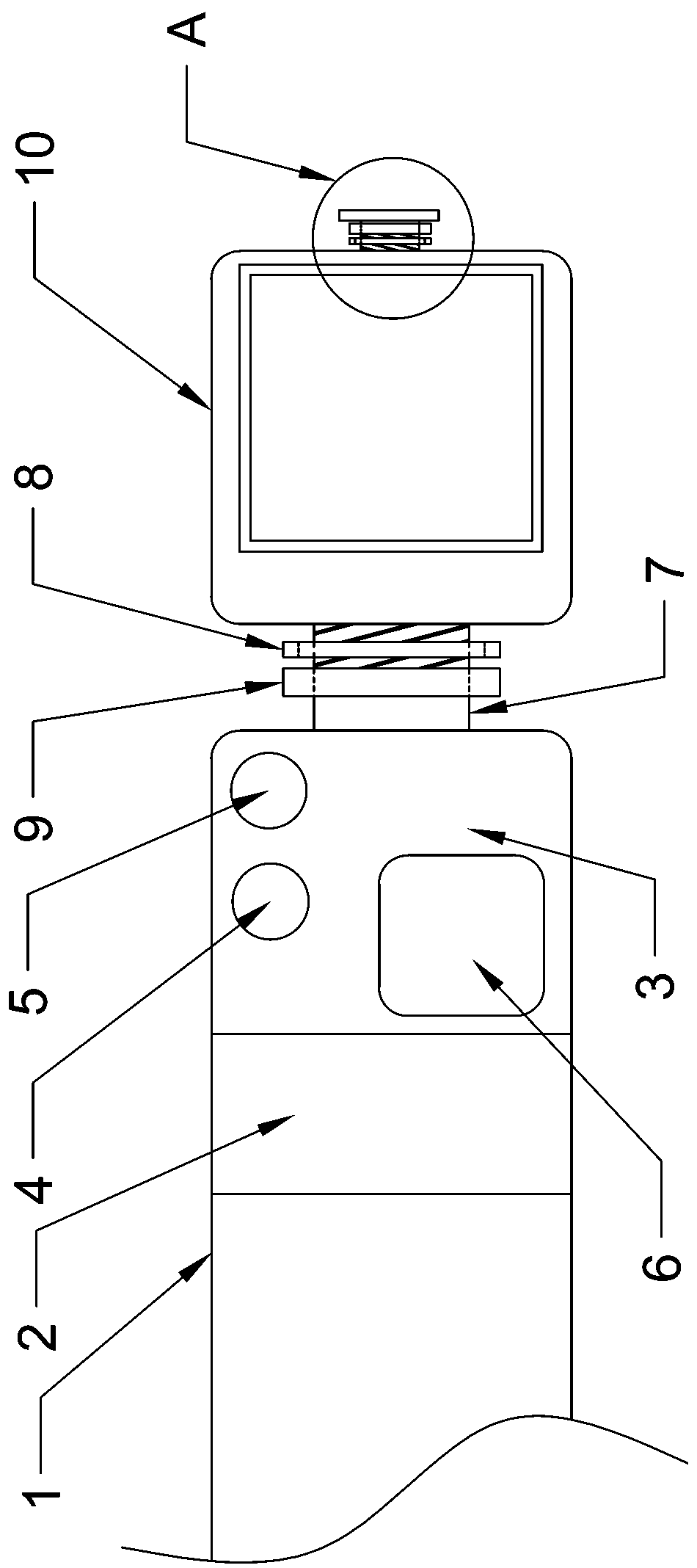
一种水囊超声胃镜探头
授权日:
2019-09-03
公开(公告)号:
CN209332098U
申请日:
2018-11-29
公开(公告)日:
2019-09-03
当前申请(专利权)人:
河北省中医院
发明人:
董亚静 | 徐哲 | 杨静 | 刘敏肖 | 李世济 | 王丹丹 | 孔丽丽
简单同族:
CN209332098U
简单同族成员数量:
1
简单同族被引用专利总数:
0
诉讼案件数:
0
法律状态/事件:
授权