首页
专利数据库
产业人才
行业动态
产业政策法规
维权援助
个人中心
登录/注册
详情
文本
图像
标题:
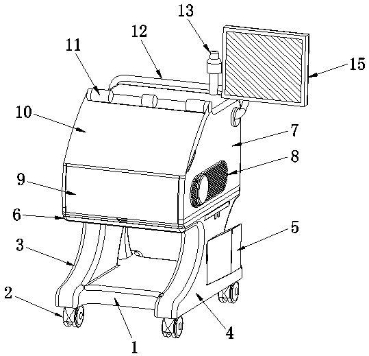
一种推车式超声诊疗仪
授权日:
2019-07-02
公开(公告)号:
CN209048177U
申请日:
2018-07-01
公开(公告)日:
2019-07-02
当前申请(专利权)人:
符声玉
发明人:
符声玉 | 朱爱令
简单同族:
CN209048177U
简单同族成员数量:
1
简单同族被引用专利总数:
0
诉讼案件数:
0
法律状态/事件:
授权