首页
专利数据库
产业人才
行业动态
产业政策法规
维权援助
个人中心
登录/注册
详情
文本
图像
标题:
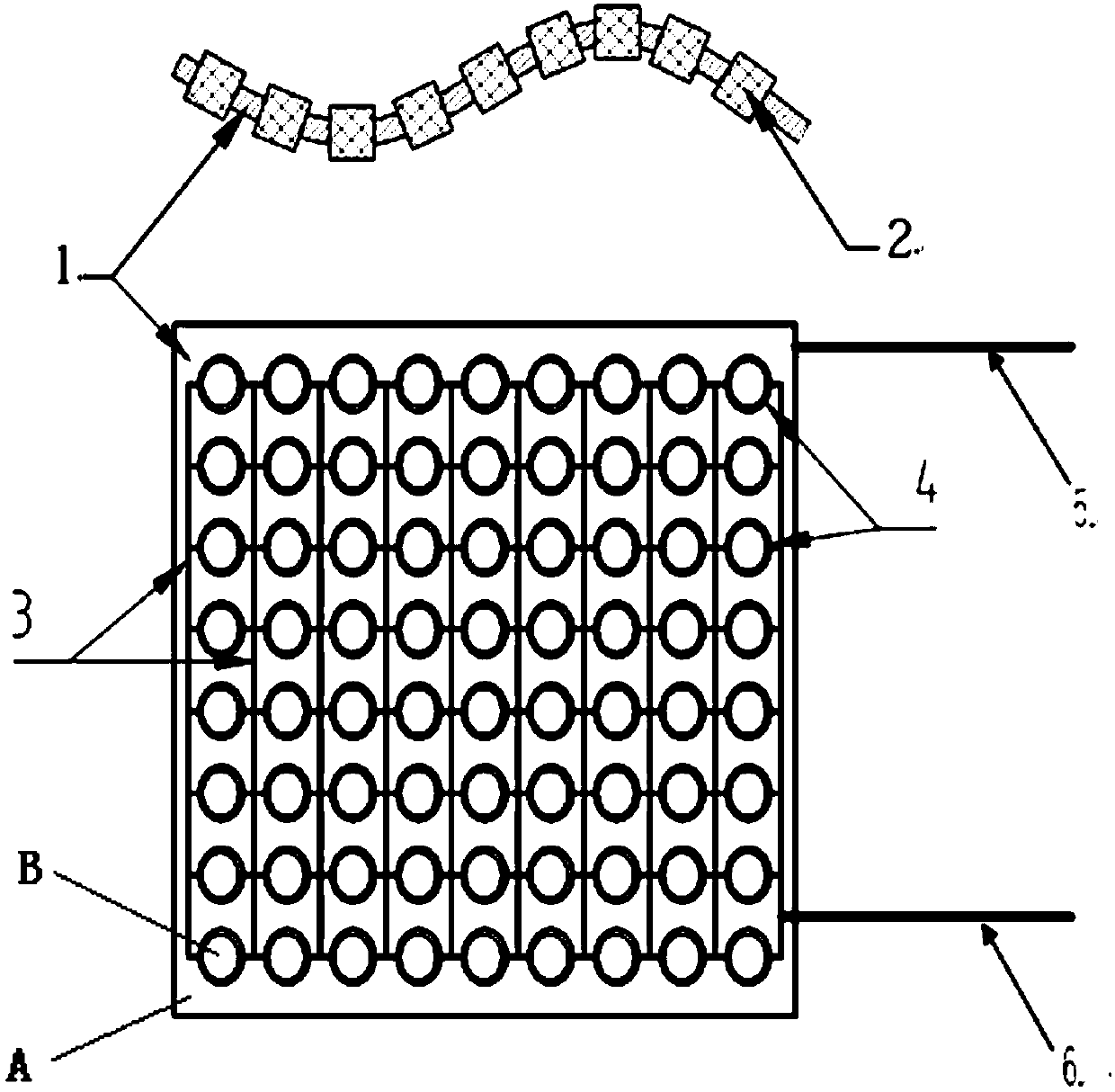
柔性超声波换能器阵列、聚焦换能器
授权日:
1900-01-01
公开(公告)号:
CN110870781A
申请日:
2018-09-03
公开(公告)日:
2020-03-10
当前申请(专利权)人:
重庆融海超声医学工程研究中心有限公司
发明人:
王智彪 | 赵纯亮
简单同族:
CN110870781A
简单同族成员数量:
1
简单同族被引用专利总数:
0
诉讼案件数:
0
法律状态/事件:
实质审查