首页
专利数据库
产业人才
行业动态
产业政策法规
维权援助
个人中心
登录/注册
详情
文本
图像
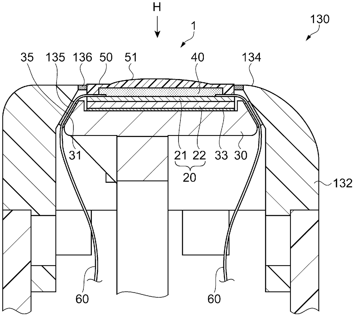
标题:
超声波设备、超声波探测器、电子设备及超声波图像装置
授权日:
2018-04-20
公开(公告)号:
CN103961137B
申请日:
2014-01-24
公开(公告)日:
2018-04-20
当前申请(专利权)人:
精工爱普生株式会社
发明人:
大西康宪
简单同族:
CN103961137A | CN103961137B | JP2014146883A | JP2014146883A5 | JP6212870B2 | US10086404 | US20140208853A1 | US20160318068A1 | US9409207
简单同族成员数量:
9
简单同族被引用专利总数:
33
诉讼案件数:
0
法律状态/事件:
授权