首页
专利数据库
产业人才
行业动态
产业政策法规
维权援助
个人中心
登录/注册
详情
文本
图像
标题:
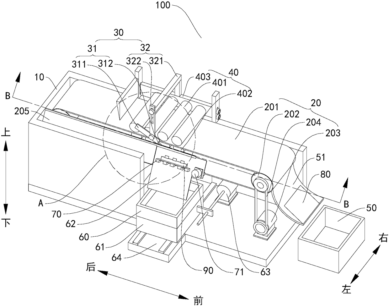
从液晶显示模组上拆解印刷线路板的拆解设备
授权日:
1900-01-01
公开(公告)号:
CN107219654A
申请日:
2017-07-31
公开(公告)日:
2017-09-29
当前申请(专利权)人:
京东方科技集团股份有限公司 | 合肥京东方光电科技有限公司
发明人:
蔡光源 | 李继纯 | 张华 | 程军斐
简单同族:
CN107219654A
简单同族成员数量:
1
简单同族被引用专利总数:
0
诉讼案件数:
0
法律状态/事件:
实质审查