标题:
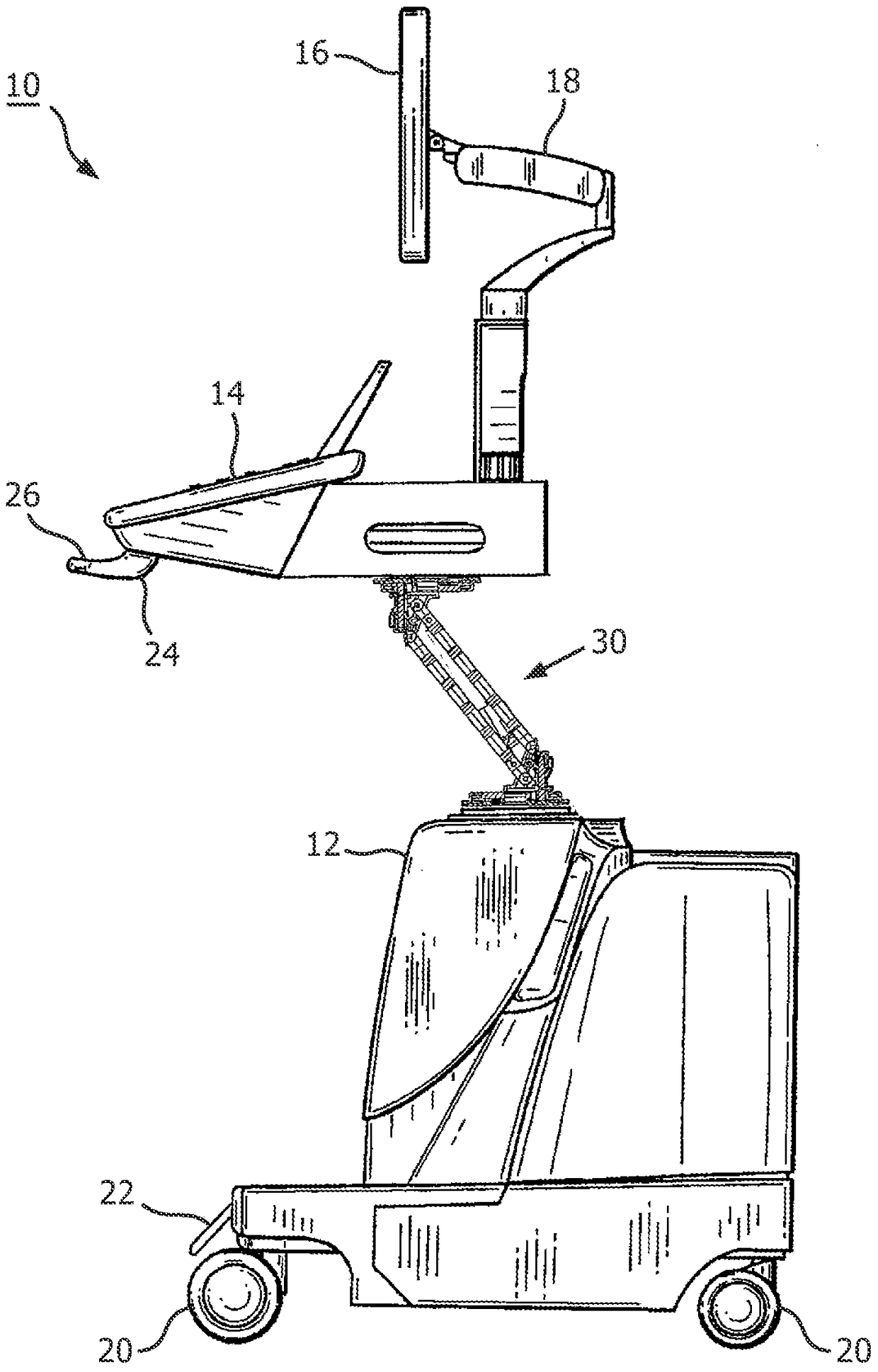
一种手推车运载的超声系统
授权日:
2018-01-16
公开(公告)号:
CN104869909B
申请日:
2013-12-16
公开(公告)日:
2018-01-16
当前申请(专利权)人:
皇家飞利浦有限公司
发明人:
M·A·梅西纳 | D·多兰 | D·范阿尔芬 | T·J·亨特 | B·乔丹
简单同族:
CN104869909A | CN104869909B | EP2934322A1 | EP2934322B1 | JP2016501097A | JP2016501097A5 | JP6219404B2 | RU2015129515A | RU2656553C2 | US10299759 | US20150342562A1 | US20170055951A1 | US20180098751A1 | US9504447 | US9855023 | WO2014097122A1
简单同族成员数量:
16
简单同族被引用专利总数:
23
诉讼案件数:
0
法律状态/事件:
授权