首页
专利数据库
产业人才
行业动态
产业政策法规
维权援助
个人中心
登录/注册
详情
文本
图像
标题:
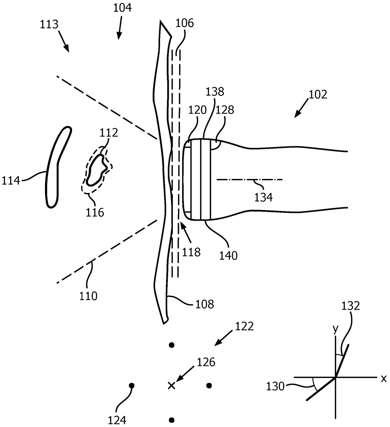
用于颅内监测的一致序列超声采集
授权日:
2018-02-27
公开(公告)号:
CN105025804B
申请日:
2014-02-25
公开(公告)日:
2018-02-27
当前申请(专利权)人:
皇家飞利浦有限公司
发明人:
B·I·拉朱 | W·T·史 | F·G·G·M·维尼翁
简单同族:
CN105025804A | CN105025804B | EP2996561A1 | EP2996561B1 | JP2016508813A | JP6268196B2 | US10034658 | US20160000411A1 | WO2014136016A1
简单同族成员数量:
9
简单同族被引用专利总数:
23
诉讼案件数:
0
法律状态/事件:
授权