首页
专利数据库
产业人才
行业动态
产业政策法规
维权援助
个人中心
登录/注册
详情
文本
图像
标题:
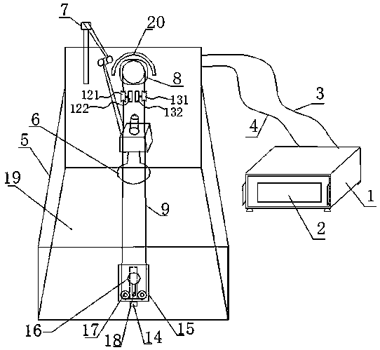
多普勒超声诊断仪血流波形模体及校准方法
授权日:
1900-01-01
公开(公告)号:
CN108814649A
申请日:
2018-07-05
公开(公告)日:
2018-11-16
当前申请(专利权)人:
河南省计量科学研究院
发明人:
朱卫民 | 刘哲 | 朱怡然 | 刘涛 | 齐芳 | 卫平 | 古晓辉 | 王兴宏 | 张益
简单同族:
CN108814649A
简单同族成员数量:
1
简单同族被引用专利总数:
0
诉讼案件数:
0
法律状态/事件:
实质审查