首页
专利数据库
产业人才
行业动态
产业政策法规
维权援助
个人中心
登录/注册
详情
文本
图像
标题:
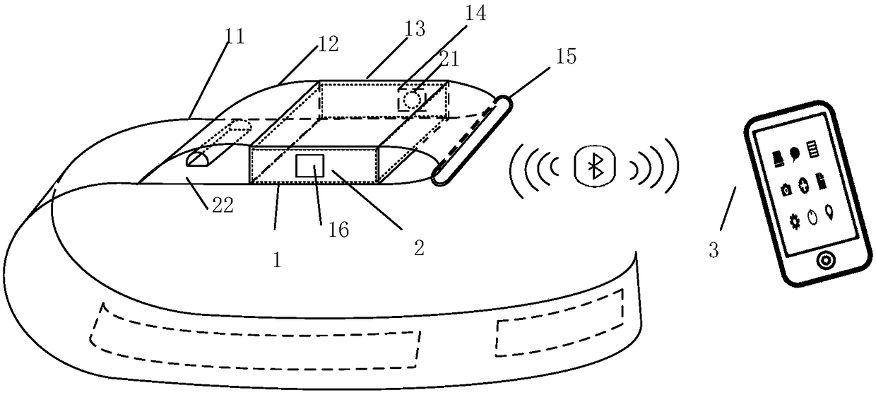
一种可穿戴式超声眼球测量系统
授权日:
1900-01-01
公开(公告)号:
CN108720871A
申请日:
2017-04-25
公开(公告)日:
2018-11-02
当前申请(专利权)人:
上海瑞影医疗科技有限公司
发明人:
陆海阳 | 张静 | 张荥娟 | 陈清凤 | 王春辉 | 周晓宇 | 郁瑜 | 郑政
简单同族:
CN108720871A
简单同族成员数量:
1
简单同族被引用专利总数:
0
诉讼案件数:
0
法律状态/事件:
实质审查