首页
专利数据库
产业人才
行业动态
产业政策法规
维权援助
个人中心
登录/注册
详情
文本
图像
标题:
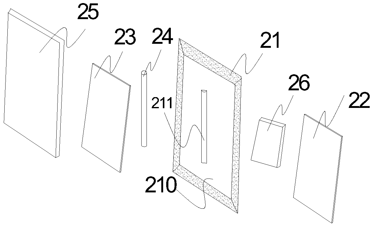
一种适用于黏弹性成像的超声探头
授权日:
2020-04-03
公开(公告)号:
CN210228180U
申请日:
2018-12-13
公开(公告)日:
2020-04-03
当前申请(专利权)人:
中山大学附属第三医院(中山大学肝脏病医院)
发明人:
卢雪 | 郑荣琴 | 韩晓东 | 黄泽萍 | 曾婕
简单同族:
CN210228180U
简单同族成员数量:
1
简单同族被引用专利总数:
0
诉讼案件数:
0
法律状态/事件:
授权